| |
JZJX系列罗茨与旋片真空机组
■ 使用范围
JZJX系列罗茨旋片机组是由ZJ型罗茨泵做为主抽泵,单级或双级旋片泵做为前级泵组成的抽气机组。该机组具有真空度高,抽速范围广等特点,它较适用于 抽除干燥、洁净的气体。当带有气镇装置时,也可以抽除含少量水蒸汽的气体。该系列机组已广泛应用于冶金、化工、轻工、石油、医药、印染、电器、电真空、半 导体、食品、原子能、纺织等行业。
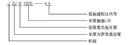
■ 型号表示方法

■ 技术参数
|
型号
|
抽气速率
(L/S)
|
极限压力
≤(Pa)
|
机组组成泵型号
|
总功率
(kw)
|
|
主泵
|
中间泵
|
前级泵
|
|
JZJX30-1
|
30
|
3×10-2
|
ZJP30
|
|
2X-8
|
1.85
|
|
JZJX70-1
|
70
|
3×10-2
|
ZJP70
|
|
2X-15
|
2.6
|
|
JZJX150-1
|
150
|
3×10-2
|
ZJP150
|
|
2X-30
|
5.2
|
|
JZJX300-1
|
300
|
3×10-2
|
ZJP300
|
|
2X-70
|
9.5
|
|
JZJX600-1
|
600
|
3×10-2
|
ZJP600
|
|
2X-70×2
|
18.5
|
|
JZJX1200-1
|
1200
|
3×10-2
|
ZJP1200
|
|
2X-70×4
|
33
|
|
JZJX70-21
|
70
|
1×10-2
|
ZJP70
|
ZJP30
|
2X-15
|
3.35
|
|
JZJX150-21
|
150
|
1×10-2
|
ZJP150
|
ZJP70
|
2X-30
|
6.3
|
|
JZJX300-21
|
300
|
1×10-2
|
ZJP300
|
ZJP150
|
2X-70
|
11.7
|
|
JZJX600-21
|
600
|
1×10-2
|
ZJP600
|
ZJP300
|
2X-70×2
|
22.5
|
|
JZJX1200-22
|
1200
|
1×10-2
|
ZJP1200
|
ZJP600
|
2X-70×4
|
40.5
|
■电机功率
|
型号
|
附表:电机功率
|
电机功率(kw)
|
总功率
(kw)
|
|
主泵
|
中间泵
|
前级泵
|
|
JZJX30-1
|
0.75
|
|
1.1
|
1.85
|
|
JZJX70-1
|
1.1
|
|
1.5
|
2.6
|
|
JZJX150-1
|
2.2
|
|
3
|
5.2
|
|
JZJX300-1
|
4
|
|
5.5
|
9.5
|
|
JZJX600-1
|
7.5
|
|
11
|
28.5
|
|
JZJX1200-1
|
11
|
|
22
|
33
|
|
JZJX70-21
|
1.1
|
0.75
|
1.5
|
3.35
|
|
JZJX150-21
|
2.2
|
1.1
|
3
|
6.3
|
|
JZJX300-21
|
4
|
2.2
|
5.5
|
11.7
|
|
JZJX600-21
|
7.5
|
4
|
11
|
22.5
|
|
JZJX1200-22
|
11
|
7.5
|
22
|
40.5
|
|
|
上一篇:2BE系列水环真空泵
下一篇:MH-2高真空节能系列真空泵 油封滑阀真空泵 |